Follow Us:
Call Us: +91 9094214144

About Us

We Are Leading Rubber Bellow Manucaturer in Chennai

Hitech Joints & Linings Pvt. Ltd. is a Chennai Based Company, manufacturing Rubber Expansion Joints sizes from 25 NB to 1600 NB which are used in all systems conveying fluids under pressure and or vacuum at various temperature.

30

Years of
Experience

Rubber Expansion Joints

Pneumatic Bellows and Moulded Bellows

Fabric Bellows

Rubber Lining of Pipes & Fittings

Rubber Lining of Tanks & Pulleys

Email us

info@hi-techbellows.com

Call us

+91 9094214144

30

Years Experience

100

Products

957

Happy Clients

1839

Projects Done

Our Products

We Provide Best Industrial Rubber Bellows and Joints


Rubber Bellows


We manufacture Rubber Bellows in any shapes like Circular, Rectangular etc.

Read More

Rubber Expansion Joints


We Manufacture Rubber Expansion Joints of size from 25 NB to 1600 NB which are used in all systems conveying fluids under pressure and or vacuum at various temperature.

Read More

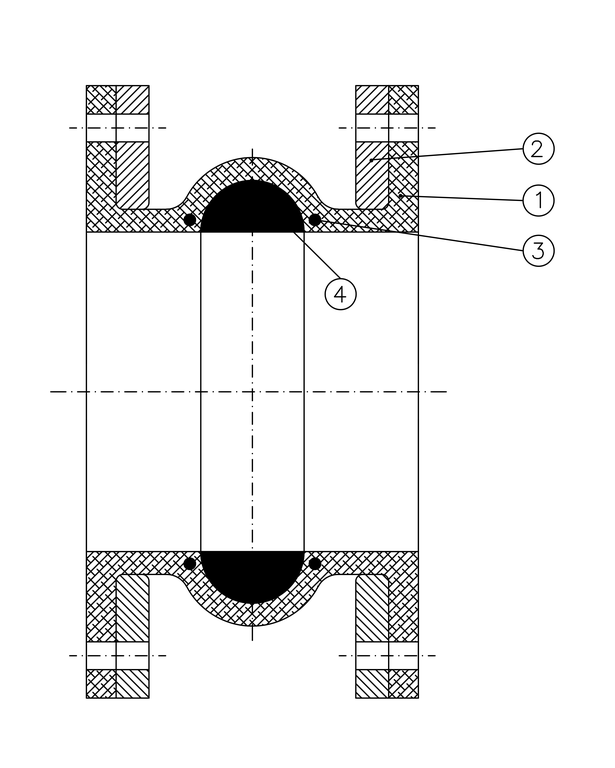
Rubber Expansion Joints Assembly with two arches (Open)


We have the required modern machineries and equipments for manufacturing and testing of Rubber Expansion joints

Read More

Explore

Explore our wide products

PERFORMANCEAND CONSTRUCTION FEATURES

  • Test pressure upto 24 bar (upto 300NB).
  • Cyclic movement test for 5000 cycles under design pressure conducted on sizes 1600NB, 2100NB and 2200NB bellows.
  • Manufactured sizes upto 3600mm (144 inches)*.
  • Safety factor built in upto4:1.
  • Low spring rates.
  • Greater movement per arch.
  • Manufactured in single or multiple arches.
  • Choice of eight liner elastomers
  • Choice of cover to match liner materials or different materials for better resistance to external conditions.
  • Filled or unfilled arches.
  • Galvanised carbon steel or stainless steel split backup rings.
  • Can be built with permanent offset to compensate for existing or designed piping misalignment